大東海泵業無錫有限公司
銷售總部:江蘇無錫新吳區長江路21-1號創源大廈309
生產基地:無錫市東港鎮
銷售熱線:0510-82108358
銷售熱線:0510-82116911
聯系電話:13395114288
QQ: 2634113519


大東海泵業無錫有限公司
銷售總部:江蘇無錫新吳區長江路21-1號創源大廈309
生產基地:無錫市東港鎮
銷售熱線:0510-82108358
銷售熱線:0510-82116911
聯系電話:13395114288
QQ: 2634113519


大東海泵業無錫有限公司是一家專業的立式單級消防泵生產廠家。在客戶立式單級消防泵選型時,我公司水泵廠家會提供完善的立式單級消防泵型號、立式單級消防泵價格等售前服務,以供客戶參考,并且我水泵廠家能為客戶提供定制泵業產品的服務。本條產品資訊是關于立式單級消防泵XBD10.0/20G-L外形尺寸|重量|參數的知識:

XBD立式單級消防泵是一款非常常見的通用消防泵產品,在實際生產生活當中經常會遇到。有時因為自己泵房的空間,或是出于安裝便利的考慮,在采購立式單級消防泵之前,想先了解一下自己要采購的消防泵產品具體安裝尺寸、參數、重量等信息,這是非常有必要的。
下面,我公司具體給大家列出立式單級消防泵XBD10.0/20G-L的詳細性能參數:
流量:20L/S;揚程:1.0MPa;電機功率:45KW;轉速:2900r/min
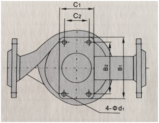
外形尺寸等詳見下表:

| 型號 | L | H | h | d 1 | B1*C1 | B2*C2 | 重量(KG) |
| XBD10.0/20G-L | 630 | 1211 | 160 | 22 | 280*210 | 220*160 | 440 |
XBD型立式單級消防泵由電機和泵兩部分組成,消防泵和電機同軸,泵結構包括泵體、葉輪、泵蓋、機械密封等不見組成。泵進、出口在同一水平軸線上,且口徑規格相同,裝卸極為方便,占地面積小。泵設有安裝底座,便于安裝,增加泵運行的穩定性。泵密封采用機械密封,具有密封可靠,無泄露的特點。泵的軸向力由葉輪設平衡環來進行平衡。
立式單級消防泵的組成 :
XBD型立式單級消防泵,供輸送不含固體顆粒的清水及物理化學性質類似于水的液體之用。主要用于消防系統增壓送水,也可用于礦給排水。
XBD立式單級消防泵的特點:
水力模型先進,效率高,性能范圍廣。立式結構,占地面積小。振動小,噪音低,采用水力平衡軸向力,使泵運行平穩,安全可靠。泵進、出口在同一水平軸線上,且口徑規格相同,便于管路連接, 裝卸極為方便。具有高可靠性,就是長時間停用后,再次起動時不會發生咬死的現象。 效率高、低噪音、地震動。 安裝形式靈活多樣,檢驗方便。
XBD立式單級消防泵的用途:
主要用于消防系統管道增壓送水,各種場合的消防給水(消防栓滅火系統、自動噴淋滅火系統和水噴霧滅火系統等)。 也適用于各種工業和城市給排水,高層建筑增壓送水、遠距離送水、采暖、浴室、鍋爐冷暖水循環、增壓空調制冷系統送水及設備配套等場合。 消防泵運行的環境溫度不大于40°C,相對濕度小于95%。
XBD立式單級消防泵產品概述
XBD型立式單級消防泵組是本司在原有立式單級管道泵基礎上根據消防泵的新標準要求而開發出的新一代XBD管道型中低壓消防泵組產品。供輸送不含固體顆粒的清水及物理化學性質類似于水的液體之用。適用于各種場合如住宅、賓館、辦公大樓、商業大樓、工廠、醫院等處的消防供水。
非常感謝您對大東海泵業無錫有限公司官方網站的訪問!以上是關于立式單級消防泵XBD10.0/20G-L外形尺寸|重量|參數的介紹,如您對此問題還想深一步了解,或有其他泵業產品、水泵選型、水泵型號、水泵價格的問題需要解答,請聯系本水泵廠家,隨時歡迎您的咨詢。謝謝!